Добро пожаловать в

Текущее время: 13 мар 2026, 20:35

Часовой пояс: UTC + 2 часа




Начать новую тему Ответить на тему  [ Сообщений: 110 ]  На страницу Пред.  1, 2, 3, 4, 5  След.
Автор Сообщение
 Заголовок сообщения: Re: Кондиционер
СообщениеДобавлено: 15 июн 2016, 08:29 
Не в сети
Ребенок в машине

Зарегистрирован: 12 окт 2011, 11:44
Сообщений: 14
Откуда: Одесса
Год выпуска: 1997
Объем двигателя: 1.6
Тип кузова: Седан
Родословная: Англичанка
авто: Carina E
В Одессе заправлял кондиционер на Атамана Головатого в АТЛ по демократичной цене 555 грн. Апарат для заправки ЗЕЛЕНЕНЬКИЙ, не БОШ, но КАРИНА там в меню есть. Заправили 750...мл или гр., как по паспорту. Даже обратно выкачивали, так как травил золотник. Пока работает, мне понравилось. (Не на правах рекламы, может кому пригодится). :car


Вернуться наверх
 Профиль Отправить личное сообщение  
 
 Заголовок сообщения: Re: Кондиционер
СообщениеДобавлено: 23 июн 2016, 19:50 
Не в сети
Водитель-механик
Аватар пользователя

Зарегистрирован: 15 ноя 2010, 18:08
Сообщений: 806
Откуда: Апостоловский.Нива-Трудовая
Год выпуска: 1993
Комплектация: GLi
Объем двигателя: 2.0
Тип кузова: Седан
Родословная: Японка
авто: Кариша Е
Ребята скиньте фото Вакуeмного датчика отвечающий за повышение оборотов на 3SFE не могу найти.

_________________
KarinaE 2.0GLI ST191 3S-FE. S-54 JAPAN
93г- изготовл. 95г- продана. Кондёр, круиз-контроль ,борт.комп,седан,.

http://carinae.com.ua/forum/viewtopic.php?f=17&t=1979
https://www.drive2.ru/r/toyota/carina_e/1168277/


Вернуться наверх
 Профиль Отправить личное сообщение  
 
 Заголовок сообщения: Re: Кондиционер
СообщениеДобавлено: 24 июн 2016, 11:41 
Не в сети
Профессионал
Аватар пользователя

Зарегистрирован: 19 фев 2008, 21:01
Сообщений: 2331
Откуда: Одесса
Год выпуска: 1993
Комплектация: GLi
Объем двигателя: 2.0
Тип кузова: Лифтбек
Родословная: Японка
Изображение

_________________
Карина Е, 2.0 GLI, лифтбэк,1993,красная,Japan, кондиционер


Вернуться наверх
 Профиль Отправить личное сообщение  
 
 Заголовок сообщения: Re: Кондиционер
СообщениеДобавлено: 24 июн 2016, 18:15 
Не в сети
Водитель-механик
Аватар пользователя

Зарегистрирован: 15 ноя 2010, 18:08
Сообщений: 806
Откуда: Апостоловский.Нива-Трудовая
Год выпуска: 1993
Комплектация: GLi
Объем двигателя: 2.0
Тип кузова: Седан
Родословная: Японка
авто: Кариша Е
R-tem писал(а):
Изображение

Тут кондёра нет.Я уже нашел. у меня он находится на тыльной стороне движка .За лесть к нему только с ямы
Про чистил,про дул вроде работает.


Вложения:
IMG_1691.jpg
IMG_1691.jpg [ 58.19 KIB | Просмотров: 32669 ]
IMG_1696.jpg
IMG_1696.jpg [ 59.8 KIB | Просмотров: 32669 ]
IMG_1698.jpg
IMG_1698.jpg [ 64.05 KIB | Просмотров: 32669 ]
IMG_1702.jpg
IMG_1702.jpg [ 73.71 KIB | Просмотров: 32669 ]
IMG_1703.jpg
IMG_1703.jpg [ 49.06 KIB | Просмотров: 32669 ]
IMG_1704.jpg
IMG_1704.jpg [ 70.65 KIB | Просмотров: 32669 ]
IMG_1706.jpg
IMG_1706.jpg [ 63.7 KIB | Просмотров: 32669 ]

_________________
KarinaE 2.0GLI ST191 3S-FE. S-54 JAPAN
93г- изготовл. 95г- продана. Кондёр, круиз-контроль ,борт.комп,седан,.

http://carinae.com.ua/forum/viewtopic.php?f=17&t=1979
https://www.drive2.ru/r/toyota/carina_e/1168277/
Вернуться наверх
 Профиль Отправить личное сообщение  
 
 Заголовок сообщения: Re: Кондиционер
СообщениеДобавлено: 24 июн 2016, 19:44 
Не в сети
Профессионал
Аватар пользователя

Зарегистрирован: 19 фев 2008, 21:01
Сообщений: 2331
Откуда: Одесса
Год выпуска: 1993
Комплектация: GLi
Объем двигателя: 2.0
Тип кузова: Лифтбек
Родословная: Японка
то что ты продувал это клапан системы рециркуляции отработанных газов. А на моем фото это клапан повышения холостого хода при включении кондиционера, можешь не спорить, так как я сам его ставил когда устанавливал кондиционер.(это заводской клапан и стоит на заводском месте)

_________________
Карина Е, 2.0 GLI, лифтбэк,1993,красная,Japan, кондиционер


Вернуться наверх
 Профиль Отправить личное сообщение  
 
 Заголовок сообщения: Re: Кондиционер
СообщениеДобавлено: 24 июн 2016, 22:03 
Не в сети
Водитель-механик
Аватар пользователя

Зарегистрирован: 15 ноя 2010, 18:08
Сообщений: 806
Откуда: Апостоловский.Нива-Трудовая
Год выпуска: 1993
Комплектация: GLi
Объем двигателя: 2.0
Тип кузова: Седан
Родословная: Японка
авто: Кариша Е
А это тогда что?
Если можешь сфотай мне куда он подсоединяется(трубки фишки).У меня ещё авто без кондёра стоит .Так у её есть твой клапан но отсоединённые шланги(донор -запчасти)И почему в авто без кондёра стоит этот клапан


Вложения:
P9218912 (1)рп.jpg
P9218912 (1)рп.jpg [ 94.67 KIB | Просмотров: 32650 ]

_________________
KarinaE 2.0GLI ST191 3S-FE. S-54 JAPAN
93г- изготовл. 95г- продана. Кондёр, круиз-контроль ,борт.комп,седан,.

http://carinae.com.ua/forum/viewtopic.php?f=17&t=1979
https://www.drive2.ru/r/toyota/carina_e/1168277/
Вернуться наверх
 Профиль Отправить личное сообщение  
 
 Заголовок сообщения: Re: Кондиционер
СообщениеДобавлено: 24 июн 2016, 22:33 
Не в сети
Профессионал
Аватар пользователя

Зарегистрирован: 19 фев 2008, 21:01
Сообщений: 2331
Откуда: Одесса
Год выпуска: 1993
Комплектация: GLi
Объем двигателя: 2.0
Тип кузова: Лифтбек
Родословная: Японка
то что по твоей стрелке - это MAP-сенсор)))

_________________
Карина Е, 2.0 GLI, лифтбэк,1993,красная,Japan, кондиционер


Вернуться наверх
 Профиль Отправить личное сообщение  
 
 Заголовок сообщения: Re: Кондиционер
СообщениеДобавлено: 25 июн 2016, 09:31 
Не в сети
Водитель-механик
Аватар пользователя

Зарегистрирован: 15 ноя 2010, 18:08
Сообщений: 806
Откуда: Апостоловский.Нива-Трудовая
Год выпуска: 1993
Комплектация: GLi
Объем двигателя: 2.0
Тип кузова: Седан
Родословная: Японка
авто: Кариша Е
R-tem писал(а):
то что ты продувал это клапан системы рециркуляции отработанных газов. А на моем фото это клапан повышения холостого хода при включении кондиционера, можешь не спорить, так как я сам его ставил когда устанавливал кондиционер.(это заводской клапан и стоит на заводском месте)


А у тебя такой клапан как на моих фотках есть?

_________________
KarinaE 2.0GLI ST191 3S-FE. S-54 JAPAN
93г- изготовл. 95г- продана. Кондёр, круиз-контроль ,борт.комп,седан,.

http://carinae.com.ua/forum/viewtopic.php?f=17&t=1979
https://www.drive2.ru/r/toyota/carina_e/1168277/


Вернуться наверх
 Профиль Отправить личное сообщение  
 
 Заголовок сообщения: Re: Кондиционер
СообщениеДобавлено: 25 июн 2016, 11:02 
Не в сети
Профессионал
Аватар пользователя

Зарегистрирован: 19 фев 2008, 21:01
Сообщений: 2331
Откуда: Одесса
Год выпуска: 1993
Комплектация: GLi
Объем двигателя: 2.0
Тип кузова: Лифтбек
Родословная: Японка
виха писал(а):
R-tem писал(а):
то что ты продувал это клапан системы рециркуляции отработанных газов. А на моем фото это клапан повышения холостого хода при включении кондиционера, можешь не спорить, так как я сам его ставил когда устанавливал кондиционер.(это заводской клапан и стоит на заводском месте)


А у тебя такой клапан как на моих фотках есть?


да, есть.

_________________
Карина Е, 2.0 GLI, лифтбэк,1993,красная,Japan, кондиционер


Вернуться наверх
 Профиль Отправить личное сообщение  
 
 Заголовок сообщения: Re: Кондиционер
СообщениеДобавлено: 26 июн 2016, 10:06 
Не в сети
Водитель-механик
Аватар пользователя

Зарегистрирован: 15 ноя 2010, 18:08
Сообщений: 806
Откуда: Апостоловский.Нива-Трудовая
Год выпуска: 1993
Комплектация: GLi
Объем двигателя: 2.0
Тип кузова: Седан
Родословная: Японка
авто: Кариша Е
именно этот


Вложения:
IMG_1702.jpg
IMG_1702.jpg [ 73.71 KIB | Просмотров: 32603 ]

_________________
KarinaE 2.0GLI ST191 3S-FE. S-54 JAPAN
93г- изготовл. 95г- продана. Кондёр, круиз-контроль ,борт.комп,седан,.

http://carinae.com.ua/forum/viewtopic.php?f=17&t=1979
https://www.drive2.ru/r/toyota/carina_e/1168277/
Вернуться наверх
 Профиль Отправить личное сообщение  
 
 Заголовок сообщения: Re: Кондиционер
СообщениеДобавлено: 26 июн 2016, 17:37 
Не в сети
Профессионал
Аватар пользователя

Зарегистрирован: 19 фев 2008, 21:01
Сообщений: 2331
Откуда: Одесса
Год выпуска: 1993
Комплектация: GLi
Объем двигателя: 2.0
Тип кузова: Лифтбек
Родословная: Японка
вот 25860 твой клапан, который управляет системой EGR(дожиг отработанных газов) http://www.japancats.ru/toyota/Parts.as ... fc8&Title=Схема%201%20из%202

вот клапан отвечающий за поднятие оборотов при включении кондиционера(как на моем фото) http://www.japancats.ru/toyota/Parts.as ... 80d154c467

_________________
Карина Е, 2.0 GLI, лифтбэк,1993,красная,Japan, кондиционер


Вернуться наверх
 Профиль Отправить личное сообщение  
 
 Заголовок сообщения: Re: Кондиционер
СообщениеДобавлено: 10 июн 2019, 05:55 
Не в сети
Водитель-механик
Аватар пользователя

Зарегистрирован: 09 авг 2013, 19:54
Сообщений: 781
Откуда: Бровары Киевская область
Год выпуска: 1996
Комплектация: GLi
Объем двигателя: 1.6
Тип кузова: Седан
Родословная: Англичанка
авто: Toyota Carina E
Добрый день,
Подскажите парни размеры резиновых колечек в местах соединений трубок

_________________
Михаил тел:(095)555-40-39
Toyota Carina E V1,6 STD 1996 год
Я рожден в Советском Союзе
Сделан я в СССР


Вернуться наверх
 Профиль Отправить личное сообщение  
 
 Заголовок сообщения: Re: Кондиционер
СообщениеДобавлено: 11 июн 2019, 05:41 
Не в сети
Водитель-механик
Аватар пользователя

Зарегистрирован: 09 авг 2013, 19:54
Сообщений: 781
Откуда: Бровары Киевская область
Год выпуска: 1996
Комплектация: GLi
Объем двигателя: 1.6
Тип кузова: Седан
Родословная: Англичанка
авто: Toyota Carina E
Что никто не знает номера и кол-во резиновых колечек?

_________________
Михаил тел:(095)555-40-39
Toyota Carina E V1,6 STD 1996 год
Я рожден в Советском Союзе
Сделан я в СССР


Вернуться наверх
 Профиль Отправить личное сообщение  
 
 Заголовок сообщения: Re: Кондиционер
СообщениеДобавлено: 11 июн 2019, 09:53 
Не в сети
Профессионал
Аватар пользователя

Зарегистрирован: 17 янв 2010, 00:41
Сообщений: 3700
Откуда: Днепропетровск
Комплектация: GLi
Объем двигателя: 1.6
Тип кузова: Вагон
Родословная: Японка
Мишаня никто по этому поводу не заморачивался все меняли подбором по образцам или по трубкам.
Все что я находил но так и не проверил. Тойотовских номеров нет, все в сборе с трубками.
Сальники 3-х типоразмеров:
1, D17,3 мм - 3 шт
2, D16 мм - 3 шт
3, D9 мм - 3 шт (но по моему надо 6 (осушитель и трубки от него) - уплотнители трубок садятся на Ф7,4 попадают в отверстие Ф10.
Первые 2 позиции живут вокруг компрессора посадочные к сожалению не знаю.
У меня до установки так и не дошло.

_________________
93'4A-FE LB GLi Japan Red Wagon
Светодиодное освещение салона и не только.


Вернуться наверх
 Профиль Отправить личное сообщение  
 
 Заголовок сообщения: Re: Кондиционер
СообщениеДобавлено: 11 июн 2019, 10:09 
Не в сети
Водитель-механик
Аватар пользователя

Зарегистрирован: 09 авг 2013, 19:54
Сообщений: 781
Откуда: Бровары Киевская область
Год выпуска: 1996
Комплектация: GLi
Объем двигателя: 1.6
Тип кузова: Седан
Родословная: Англичанка
авто: Toyota Carina E
Medved писал(а):
Мишаня никто по этому поводу не заморачивался все меняли подбором по образцам или по трубкам.

Подобрать то можно, но качество резины(зеленые кольца) в этих кольцах оставляет желать лучшего, так как кондиционерщики приобретают их в Китае, лучше переплатить и купить оригинальные Тойотовские и будешь на 100% уверен, что там резина HNBR.
ИМХО:Цена ошибки велика если кольца плохого качества, надо будет опять разгерметизировать систему, откручивать все соединения и так далее, а это дополнительные затраты на внеплановую заправку фреоном и масса времени.
Проблема в том, что я не могу найти их на схеме и соответственно не могу узнать OEM номера, нашел информацию, что их три вида и все...

_________________
Михаил тел:(095)555-40-39
Toyota Carina E V1,6 STD 1996 год
Я рожден в Советском Союзе
Сделан я в СССР


Вернуться наверх
 Профиль Отправить личное сообщение  
 
 Заголовок сообщения: Re: Кондиционер
СообщениеДобавлено: 11 июн 2019, 19:32 
Не в сети
Профессионал
Аватар пользователя

Зарегистрирован: 17 янв 2010, 00:41
Сообщений: 3700
Откуда: Днепропетровск
Комплектация: GLi
Объем двигателя: 1.6
Тип кузова: Вагон
Родословная: Японка
ОЕМ номера мне не попадались, на всех схемах трубки в сборе с резинками.

_________________
93'4A-FE LB GLi Japan Red Wagon
Светодиодное освещение салона и не только.


Вернуться наверх
 Профиль Отправить личное сообщение  
 
 Заголовок сообщения: Re: Кондиционер
СообщениеДобавлено: 12 июн 2019, 07:08 
Не в сети
Водитель-механик
Аватар пользователя

Зарегистрирован: 07 апр 2013, 18:32
Сообщений: 709
Откуда: Одесса
Год выпуска: 1996
Комплектация: GLi
Объем двигателя: 2.0
Тип кузова: Седан
Родословная: Англичанка
авто: Карина Е 2,0
По уплотнительным кольцам Миша абсолютно прав, у меня зеленые кольца поставили 4 года назад и сейчас на месте соединения течет фреон. А в тех местах где ставил оригинальные 5 лет назад, все четко. Вот прикупил вчера колечки буду менять. Вид и номера в студию))

Вложение:
PCSIMG-7c782d3a32cd758fe96041a396fd2f26.jpg
PCSIMG-7c782d3a32cd758fe96041a396fd2f26.jpg [ 111.35 KIB | Просмотров: 28761 ]


Маленькие кольца ставится в напорной магистрали, а побольше на обратной. Есть еще один размер, но честно не знаю где он. Скорее всего в месте выхода трубок из салона. Я покупал в 2013 году, но уже не помню номера. Всего на систему идут:

6 колец - 90099-14119
3 кольца - 90099-14121
3 кольца - ? номера не нашел.


Вернуться наверх
 Профиль Отправить личное сообщение  
 
 Заголовок сообщения: Re: Кондиционер
СообщениеДобавлено: 13 июн 2019, 06:09 
Не в сети
Водитель-механик
Аватар пользователя

Зарегистрирован: 09 авг 2013, 19:54
Сообщений: 781
Откуда: Бровары Киевская область
Год выпуска: 1996
Комплектация: GLi
Объем двигателя: 1.6
Тип кузова: Седан
Родословная: Англичанка
авто: Toyota Carina E
Vadim_24 писал(а):
Маленькие кольца ставится в напорной магистрали, а побольше на обратной. Есть еще один размер, но честно не знаю где он. Скорее всего в месте выхода трубок из салона. Я покупал в 2013 году, но уже не помню номера. Всего на систему идут:

6 колец - 90099-14119
3 кольца - 90099-14121
3 кольца - ? номера не нашел.


Вадик привет,
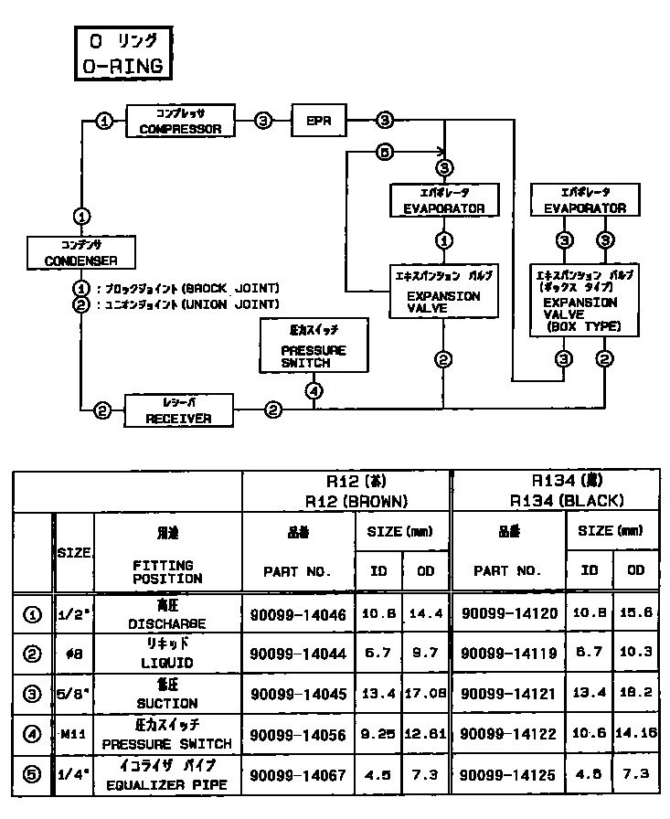
Вот, что удалось отрыть благодаря RU форуму, смотрим таблицу(наша колонка последняя R134)
По данной схеме у нас 5 видов колец:
1. 90099-14120 - 4 шт:
2. 90099-14119 - 5 шт;
3. 90099-14121 - 6 шт;
4. 90099-14122 - 1 шт;
5. 90099-14125 - 1 шт
Интересно, заказывать по этой схеме 5 видов колец или три, что Вадик предлагает? Если три, то какой третий размер, который Вадик не нашел?
Я запутался....


Вложения:
Кольца кондиционера резиновые.JPG
Кольца кондиционера резиновые.JPG [ 131.67 KIB | Просмотров: 28727 ]

_________________
Михаил тел:(095)555-40-39
Toyota Carina E V1,6 STD 1996 год
Я рожден в Советском Союзе
Сделан я в СССР
Вернуться наверх
 Профиль Отправить личное сообщение  
 
 Заголовок сообщения: Re: Кондиционер
СообщениеДобавлено: 13 июн 2019, 07:28 
Не в сети
Водитель-механик
Аватар пользователя

Зарегистрирован: 07 апр 2013, 18:32
Сообщений: 709
Откуда: Одесса
Год выпуска: 1996
Комплектация: GLi
Объем двигателя: 2.0
Тип кузова: Седан
Родословная: Англичанка
авто: Карина Е 2,0
Миша, я полностью весь комплект резинок не менял, может просто не 2 размера не покупал. В англичанок и японок отличие во входах в салон. У англичанок гайки, у японки на болтах, вроде так.


Вернуться наверх
 Профиль Отправить личное сообщение  
 
 Заголовок сообщения: Re: Кондиционер
СообщениеДобавлено: 13 июн 2019, 08:35 
Не в сети
Водитель-механик
Аватар пользователя

Зарегистрирован: 09 авг 2013, 19:54
Сообщений: 781
Откуда: Бровары Киевская область
Год выпуска: 1996
Комплектация: GLi
Объем двигателя: 1.6
Тип кузова: Седан
Родословная: Англичанка
авто: Toyota Carina E
Вадик,
Так заказывать по таблице или по тем данным, что ты дал?

_________________
Михаил тел:(095)555-40-39
Toyota Carina E V1,6 STD 1996 год
Я рожден в Советском Союзе
Сделан я в СССР


Вернуться наверх
 Профиль Отправить личное сообщение  
 
 Заголовок сообщения: Re: Кондиционер
СообщениеДобавлено: 13 июн 2019, 09:18 
Не в сети
Водитель-механик
Аватар пользователя

Зарегистрирован: 07 апр 2013, 18:32
Сообщений: 709
Откуда: Одесса
Год выпуска: 1996
Комплектация: GLi
Объем двигателя: 2.0
Тип кузова: Седан
Родословная: Англичанка
авто: Карина Е 2,0
Михаил1982 писал(а):
Вадик,
Так заказывать по таблице или по тем данным, что ты дал?


Миша я бы на твоем месте заказал 3 позиции:
90099-14119
90099-14120
90099-14121

Резинки тоже денег стоят(


Вернуться наверх
 Профиль Отправить личное сообщение  
 
 Заголовок сообщения: Re: Кондиционер
СообщениеДобавлено: 13 июн 2019, 09:39 
Не в сети
Водитель-механик
Аватар пользователя

Зарегистрирован: 09 авг 2013, 19:54
Сообщений: 781
Откуда: Бровары Киевская область
Год выпуска: 1996
Комплектация: GLi
Объем двигателя: 1.6
Тип кузова: Седан
Родословная: Англичанка
авто: Toyota Carina E
Обновленная информация с Ru форума
Дмб писал(а):
Вчера разобрал систему,снял колечки,замерил.
Полностью совпадают с таблицей.

_________________
Михаил тел:(095)555-40-39
Toyota Carina E V1,6 STD 1996 год
Я рожден в Советском Союзе
Сделан я в СССР


Вернуться наверх
 Профиль Отправить личное сообщение  
 
 Заголовок сообщения: Re: Кондиционер
СообщениеДобавлено: 13 июн 2019, 11:51 
Не в сети
Водитель-механик
Аватар пользователя

Зарегистрирован: 07 апр 2013, 18:32
Сообщений: 709
Откуда: Одесса
Год выпуска: 1996
Комплектация: GLi
Объем двигателя: 2.0
Тип кузова: Седан
Родословная: Англичанка
авто: Карина Е 2,0
Сейчас разберемся тогда со схемой!


Вернуться наверх
 Профиль Отправить личное сообщение  
 
 Заголовок сообщения: Re: Кондиционер
СообщениеДобавлено: 14 июн 2019, 21:20 
Не в сети
Водитель с понятиями

Зарегистрирован: 01 дек 2014, 19:01
Сообщений: 459
Откуда: одесса мама
Год выпуска: 1992
Комплектация: GTi
Объем двигателя: 2.0
Тип кузова: Лифтбек
Родословная: Японка
Ребята, там всего три размера ( я сам собирал всю систему). Идёте в строительный магазин или автозапчасти, там есть наборы со специальными зелёными колечками, в основном фирмы yato, по цене 3-5 грн./шт. Хотя некоторые бизнесмены умудряются их продавать и по 3у.е.!!

_________________
4a-fe STD. Седан- была!

Gti 3s-ge. Красный хетчбэк
097-750-64-20
установка и ремонт м/п окон и дверей


Вернуться наверх
 Профиль Отправить личное сообщение  
 
 Заголовок сообщения: Re: Кондиционер
СообщениеДобавлено: 14 июн 2019, 21:48 
Не в сети
Водитель-механик
Аватар пользователя

Зарегистрирован: 07 апр 2013, 18:32
Сообщений: 709
Откуда: Одесса
Год выпуска: 1996
Комплектация: GLi
Объем двигателя: 2.0
Тип кузова: Седан
Родословная: Англичанка
авто: Карина Е 2,0
У меня зеленые колечки через 3 года все потекли, а там где оригинал до сих пор все сухо!


Вернуться наверх
 Профиль Отправить личное сообщение  
 
Показать сообщения за:  Сортировать по:  
Начать новую тему Ответить на тему  [ Сообщений: 110 ]  На страницу Пред.  1, 2, 3, 4, 5  След.

Часовой пояс: UTC + 2 часа


Кто сейчас на форуме

Сейчас этот форум просматривают: нет зарегистрированных пользователей и гости: 0


Вы не можете начинать темы
Вы не можете отвечать на сообщения
Вы не можете редактировать свои сообщения
Вы не можете удалять свои сообщения
Вы не можете добавлять вложения

Найти:
Перейти:  
cron
Создано на основе phpBB® Forum Software © phpBB Group
Русская поддержка phpBB
Курсы валют